欢迎访问我们站点,为您提供精密注塑出口模具一站式设计服务!

咨询热线:南通注塑模具设计工作室联系咨询热线

新闻中心

联系我们CONTACT US

模具设计公司联系方式
当前位置:首页 > 新闻中心 > 行业讯息
塑胶模底板顶出孔(KO孔)应用,附公英制对比图
发布时间:2024-03-16 点击次数:378

塑胶模底板顶出孔(KO孔)的作用:让射出成型机的顶杆和底针板接触从而推动顶针板顶出塑料件

以下为公英制顶出孔的位置对比图,具体选用哪种规格需要实现和客户确认并索取所使用的生产机台规格资料!

AISI(美制)顶出孔位置图

JIS(公制)顶出孔位置图

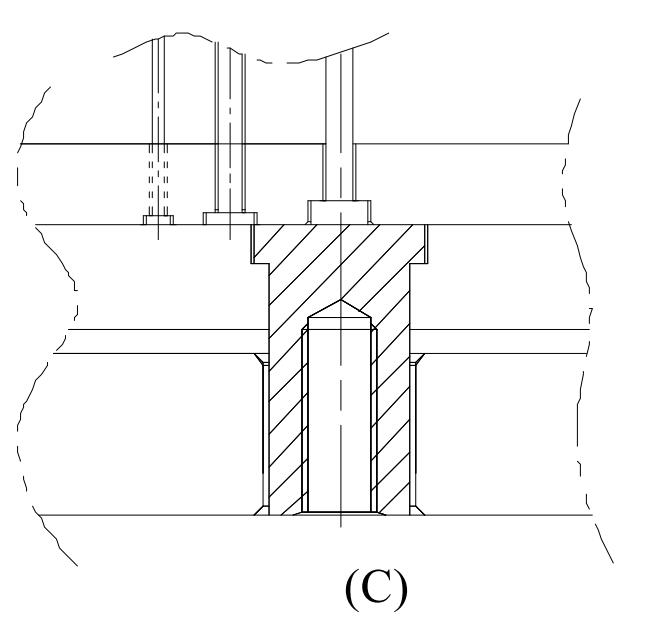
如果客户有加装顶出孔强拉的需求,按照顶针板厚度分为以下 两种情况:

1.顶针板的强度足够且客户不做顶出孔KO块的情况下选用下图B的方案

方案B

2.在顶针板的强度不够情况下或者有使用KO块(不同牙孔)的需求,可使用图C

方案C